www.bailinghuanbao.com 这个网站湖北


问:www.bailinghuanbao.com 这个网站湖北很多人打不开 其他人没问题 是不是服务器有什么限制 服务器能给切换个节点吗,www.bailinghuanbao.com 这个网站湖北很多人打不开 其他人没问题 是不是服务器有什么限制 服务器能给切换个节点吗
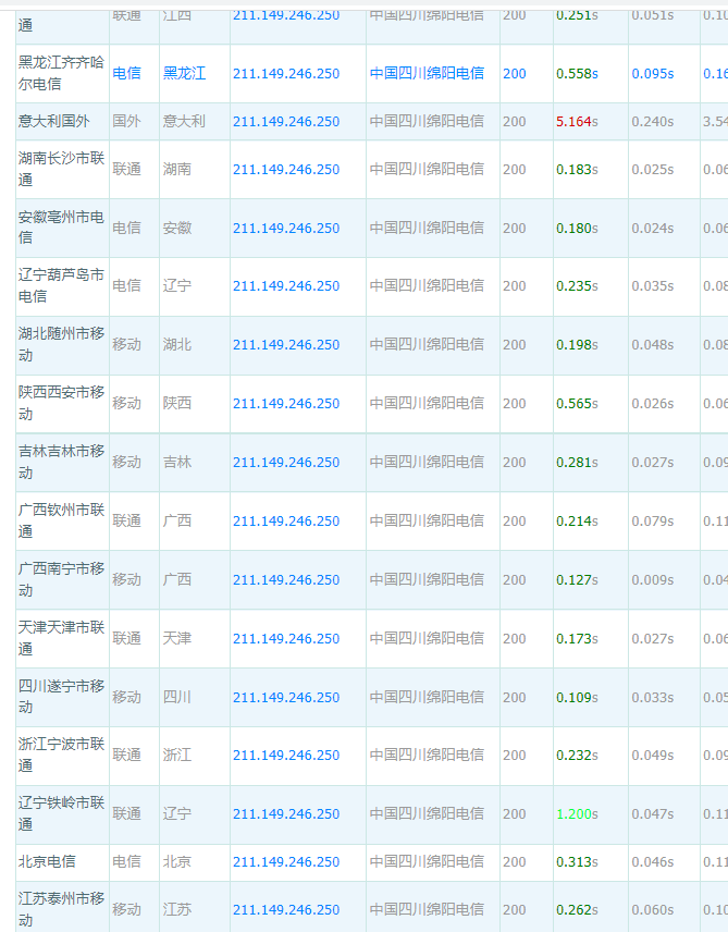
问:客户说网站湖北和四川南充的都打不开
答:您好,服务器ip没有问题的,您服务器上其他网站是正常的吧,测试了这个网站各地 访问确实有异常,应该是被网络运营商屏蔽了这个域名,当前只有更换域名或者找网络运营商、工信部等申诉试试,非常感谢您长期对我司的支持!
问:联通正常的 移动和电信这两个不正常吗?
问:怎么能查到是不是被运营商屏蔽了
答:您好,如服务器上其他网站是正常的,就足以判断出是该域名的问题了,部分地 不能访问应该就是网络运营商拦截了,各地 网站测试可以访问这个地址:https://www.17ce.com/ 测试,非常感谢您长期对我司的支持!
问:帮我重启下服务器,控制面板那没有重启按钮,登录服务器内点重启也没反应。 这个机房是不是有问题,经常有人反应打不开网站的情况。
这个到期我想换云服务器,有ip是118开头云服务器吗,可以购买防护的这种,国外用户也多。
问:前几天收到邮件3.26升级,是不是这个的问题
答:您好,已经为您重启服务器,非常感谢您长期对我司的支持!
问:打开http://jidepin.com/htrkjdgdchj/报错,是什么原因,同样的网站,在其他服务器上是正常的,
答:您好,检查服务器的网络正常,服务器也是可以成功远程的.测试服务器上其他站点也可以访问到.
该站点访问异常可能是php版本问题导致,您可以尝试切换版本试下呢。
如果需要我们协助,请重新提交对应类型“主机租用vps、云主机–>站点设置–>站点权限配置有误等造成网站打不开,常规问题排查(一个站点)”的工单,会有费用产生。或购买我司增值服务以获得更多的人工技术支持,服务标准请参考http://www.west.cn/services/server/vip_vps.asp ,非常感谢您长期对我司的支持.由此给您带来的不便之处,敬请原谅!谢谢!
问:我在百度上搜索是这个问题“解决Zend加密的PHP页面出现Incompatible file format的问题”
是你们服务器配置有问题
答:您好,测试已经可以打开,请 查看核实,非常感谢您长期对我司的支持!


